| Pradžia :: Maršrutizatoriai OEM |
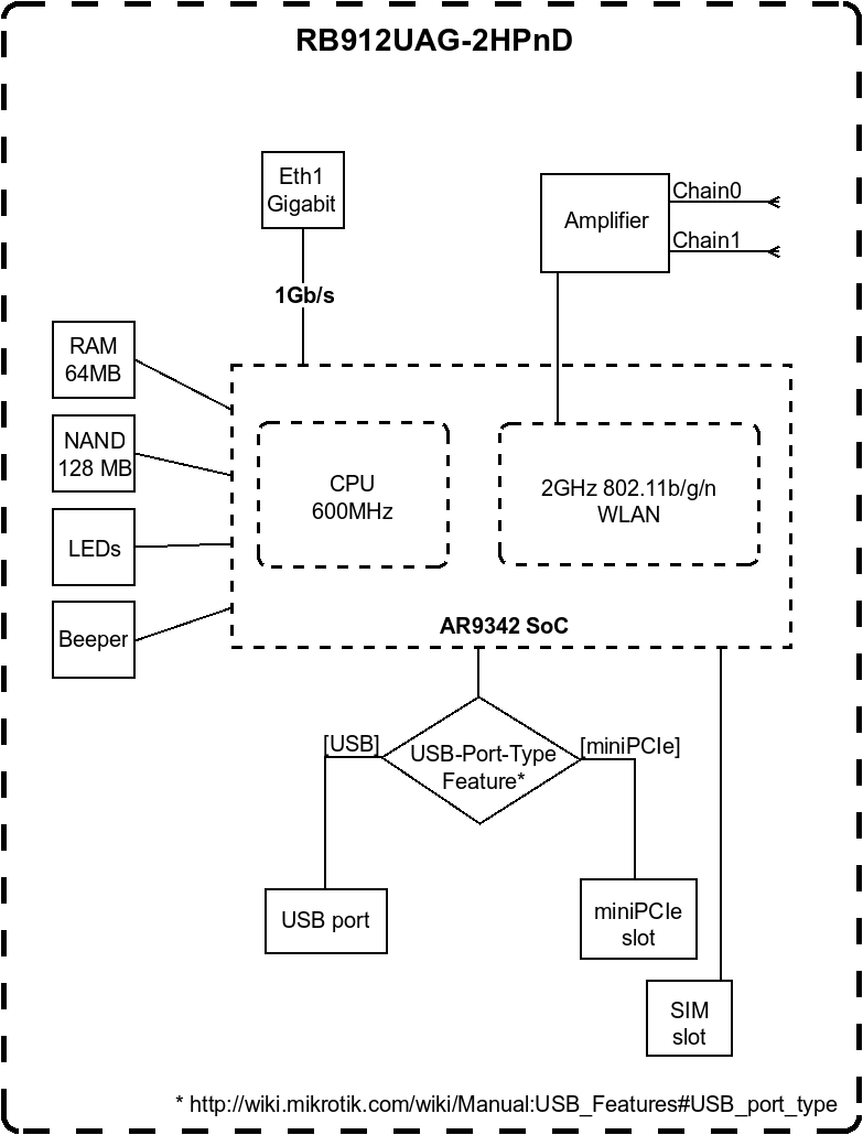
(RB912UAG-2HPnD) RouterBOARD 912UAG-2HPnD Dual Chain 2.4Ghz (RouterOS L4)600MHz CPU, 64MB RAM, 1xGigabit Ethernet, onboard 2.4Ghz wireless, miniPCI-express, USB, SIM slot, RouterOS L4MikroTik SFP module compatibility table The RB912UAG-2HPnD is very versatile device. It's small wireless router with an integrated 2.4GHz high power wireless card and an additional miniPCIe slot for 802.11 wireless, or 3G card. The Gigabit port helps to utilize the full potential of 802.11n wireless speeds. The integrated wireless card is capable of up to 1000mW output power. It has built in 16kV ESD protection on both the Ethernet and the MMCX ports |
Kaina:
€ 63.25
+ PVM
Pranešti apie atsiradimą sandelyje |
Prekė
ServerSaleMikrotik CCR (Cloud Core Router)Mikrotik CRS (Cloud Router Switch)Mikrotik CSS (Cloud Smart Switch)MaršrutizatoriaiMaršrutizatoriai (wifi)WIRELESS SYSTEMS 60GhzIntegruota antenasMikrotik LTE 4G 5G devicesMikrotik IOT productsPriedaiPower suppliesMikrotik SFP moduliaiRouterOS licencijosTAKEX security systemsOptic PatchcordsEthernet patch cablesAdapteriaimANT antennasJungikliai (switch)Maršrutizatoriai OEMMikrotik Techninis palaikymas 


Quick Guide.pdf